Dati tecnici -> Termocoppie
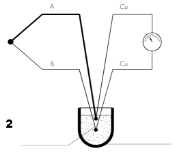
Principio di funzionamento
| Tipo | Limiti di temperatura (°C) | Descrizione | |
|---|---|---|---|
| Simbolo | Materiali | ||
| S | Pt10%Rh – Pt | -50 / 1760 | Termocoppia a base di metalli nobili (Platino e Rodio) permette di ottenere misure molto precise. Particolarmente resistente alle alte temperature viene solitamente usata in atmosfere ossidanti. Poco raccomandata in atmosfere riducenti o che contengano vapori di metallo. |
| R | Pt13%Rh – Pt | -50 / 1760 | Come la termocoppia tipo “S” ma con percentuali diverse dei due metalli. |
| B | Pt30%Rh – Pt6%Rh | 0 / 1820 | Termocoppia a base di metalli nobili che grazie alla maggiore quantità di Rodio rispetto ali tipi “S” e “R” la rendono più resistente alle alte temperature ed agli stress meccanici. |
| E | Cr – Co | -270 / 1000 | Termocoppia con alto potere termoelettrico che unisce il polo positivo della termocoppia tipo “K” e il polo negativo della termocoppia tipo “J”. Particolarmente indicata in atmosfere ossidanti. |
| J | Fe – Co | -210 / 1200 | Termocoppia formata dal polo positivo in ferro e da quello negativo in costantana ( lega a base ci rame e nichel ). Indicata per misure di medie temperature in atmosfere riducenti e con presenza di idrogeno e carbone. La presenza del ferro ne pregiudica il buon funzionamento in atmosfere ossidanti. |
| K | Cr – Al | -270 / 1370 | Termocoppia a base di leghe contenti nichel adatta per misure di alte temperature in atmosfere ossidanti . Non utilizzabile in atmosfere riducenti. |
| T | Cu – Co | -270 / 400 | Termocoppia che permette accurate misure a bassa temperatura in atmosfere ossidanti e riducenti. |
| N | Nicrosil – Nisil | -270 / 400 (1) 0 / 1300 (2) | Termocoppia per alte temperature simile alla tipo “K” ma con minor isteresi |
| W3 | W3%Re- W25%Re | 0 / 2310 | Termocoppia per altissime temperature composta da un polo positivo di Tungsteno contenete in 3% di Renio e da un polo negativo di Tungsteno contenente il 25% di Renio. Particolarmente resistente in atmosfere riducenti e in presenza di idrogeno o di altro gas inerte. Non può essere usata in aria o in atmosfere ossidanti. |
| W5 | W5%Re – W26%Re | 0 / 2310 | Termocoppia molto simile alla W3 ma con una percentuale di Renio maggiore che ne aumenta la resistenza meccanica. Altre caratteristiche identiche alla termocoppia tipo W3 |
Metodi di misura con le termocoppie




Costruzione delle termocoppie
Come per i termometri a resistenza, anche per le termocoppie esistono essenzialmente due tipologie costruttive:
ad isolamento tradizionale e ad isolamento minerale.
La tabella seguente mostra le principali caratteristiche delle due tipologie:
| Velocità di risposta | Isolamento elettrico | Resistenza alle vibrazioni | Resistenza alle pressioni | |
|---|---|---|---|---|
| Isolamento tradizionale | Sufficiente | Buono | Sufficiente | Buono |
| Isolamento minerale (MgO) | Ottimo | Buono | Ottimo | Ottimo |
Termocoppie ad isolamento tradizionale
Esistono diversi metodi di collegamento dei termometri a resistenza con gli apparecchi di misura, la scelta di utilizzo di un metodo rispetto ad un altro dipende essenzialmente dalla precisione nella misura che si vuole ottenere.
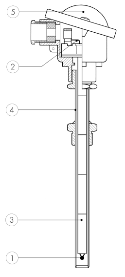
Le termocoppie con isolamento tradizionale sono costituite da:
- giunto di misura
Il giunto di misura o giunto caldo è la zona in cui i due conduttori della termocoppia sono uniti tra loro; essendo la sua dimensione di dimensioni ridotte, possiamo considerare la misura con le termocoppie di tipo puntiforme. L’esecuzione di questa giunzione deve essere fatta in modo tale da non presentare tensioni meccaniche sui due conduttori (specialmente per quanto riguarda le termocoppie a base di metallo nobile) in quanto queste, una volta in temperatura, pregiudicherebbero il corretto funzionamento della termocoppia. - fili della termocoppia
I fili della termocoppia dovranno essere dimensionati adeguatamente in base alle condizioni di impiego; è possibile inserire nella stessa sonda due o più termocoppie. - isolatori ceramici
Gli isolatori ceramici servono a prevenire corti circuiti e isolano i fili di collegamento dalla guaina di protezione. - guaina di protezione
La guaina di protezione ha lo scopo di proteggere i fili della termocoppia.
Questa, essendo a contatto con il processo, è importante che sia costituita dal giusto materiale è che abbia le giuste dimensioni. La guaina di protezione è solitamente metallica tuttavia è possibile che questa sia in materiale ceramico se la temperatura risulti molto elevata.
In condizioni particolari è opportuno ricoprire la guaina con un ulteriore protezione (pozzetto termometrico). - testa di connessione
La testa di connessione contiene una morsettiera di materiale isolante (normalmente ceramica) che permette il collegamento elettrico della termocoppia, in funzioni delle condizioni di impiego possono essere usate custodie antideflagranti.
Al posto della morsettiera è possibile installare un convertitore con uscita 4-20mA.


Nelle termocoppie con isolamento tradizionale il limite di impiego delle diverse termocoppie è determinato oltre che dalla tipologia della guaina, anche dalla dimensione dei fili della stessa come riportato nella seguente tabella:
| TIPO | CONDIZIONI | DIAMETRO FILI (mm) | |||||
|---|---|---|---|---|---|---|---|
| 3 | 1,5 | 1,3 | 0,8 | 0,5 | 0,25 | ||
| J | Fili nudi | 650 | 480 | 480 | 425 | 340 | 310 |
| Fili inguainati | 760 | 590 | 450 | 480 | 370 | 370 | |
| K/N | Fili nudi | 1.090 | 925 | 925 | 870 | 760 | 700 |
| Fili inguainati | 1.260 | 1.090 | 1.090 | 980 | 870 | 815 | |
| T | Fili nudi | 315 | 315 | 260 | 200 | 200 | 200 |
| Fili inguainati | 370 | 370 | 315 | 260 | 200 | 200 | |
| E | Fili nudi | 760 | 590 | 590 | 480 | 370 | 370 |
| Fili inguainati | 870 | 650 | 650 | 540 | 425 | 425 | |
| S/R | Fili nudi | 1.540 | 1.480 | 1.320 | |||
| Fili inguainati | |||||||
| B | Fili nudi | 1.700 | |||||
| Fili inguainati | |||||||
| Limiti di temperatura in °C | |||||||
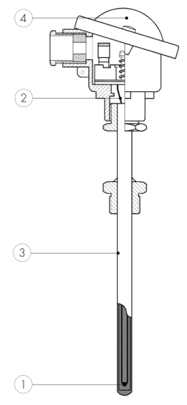
Termocoppie ad isolamento minerale MgO
Questa particolare tipologia costruttiva permette di realizzare termocoppie di elevate prestazioni e con caratteristiche meccaniche eccellenti. Le principali caratteristiche costruttive di questo tipo di realizzazione possono essere così riassunte:
- possibilità di realizzare termocoppie di dimensioni molto ridotte ( a partire da 0,5mm di diametro )
- possibilità di piegare la guaina con raggi di curvatura molto stretti
- considerevole aumento della durata media della termocoppia
- possibilità di realizzare termocoppie molto lunghe
- giunto di misura
Con l’utilizzo di particolari tecniche viene realizzata l’unione dei due conduttori costituenti la termocoppia all’interno del cavo isolato in ossido minerale e quindi si procede alla chiusura dello stesso. Il giunto di misura può essere isolato, a massa oppure esposto (vedi tabella) - fili della termocoppia
All’interno del cavo isolato in ossido minerale si possono trovare due, quattro o sei fili; la termocoppia potrà quindi essere semplice, doppia o tripla. - guaina con isolamento minerale
Questa è composta da una guaina metallica contenente i conduttori isolati tra loro e dalla guaina stessa per mezzo di ossidi metallici purissimi e altamente compressi; l’isolamento standard è l’ossido di magnesio MgO. - testa di connessione
La testa di connessione contiene una morsettiera di materiale isolante ( normalmente ceramica ) che permette il collegamento elettrico della termocoppia, in funzione delle condizioni di impiego possono essere utilizzate custodie antideflagranti. Al posto della morsettiera è possibile installare un convertitore con uscita 4-20mA.


La realizzazione del giunto di misura nelle termocoppie ad isolamento minerale può essere di tre tipi e la scelta del tipo dipende dalle condizioni di impiego della termocoppia stessa:


- giunto caldo esposto
Caratterizzato da un ridottissimo tempo di risposta in quanto lo stesso è a diretto contatto con l’ambiente in cui si deve misurare la temperatura; tuttavia ne è sconsigliato l’utilizzo in ambienti corrosivi. - giunto caldo a massa
In questo tipo di realizzazione il giunto di misura è parte integrante della guaina di protezione e di conseguenza il tempo di risposta è abbastanza ridotto, l’esecuzione dello stesso è conforme alle norme ASTM-E-235. Consigliato in presenza di alte pressioni (fino a 3500Kg/cm2). - giunto caldo isolato
Il giunto caldo è completamente isolato dalla guaina di protezione e quindi particolarmente indicato nei casi in cui fem parassite potrebbero falsare la misura. L’esecuzione dello stesso è conforme alle norme ASTM-E-235.
Il grafico seguente mostra il tempo necessario ad una termocoppia con isolamento minerale per il raggiungere il 63,2% del salto termico misurato in acqua con velocità di 0,4m/s


Principali cause di errore nelle misure
Le principali cause di errore in cui si può incorrere durante la misura della temperatura con le termocoppie sono:
- Collegamento della termocoppia con lo strumento di misura con un cavo non adatto
- Inversioni di polarità nei vari collegamenti
- Fem parassite
- Errata compensazione del giunto di riferimento.
Tutti i collegamenti tra le termocoppie e gli strumenti di misura devono essere effettuati con cavi compensati adatti, infatti esistono cavi compensati per ogni tipo di termocoppia, la scelta del tipo di isolante e delle dimensioni dipendono unicamente dalle condizioni di utilizzo (vedi parte riguardante i cavi).
Tutti i cavi di compensazione e/o di estensione per termocoppie hanno una colorazione che identifica sia il tipo di termocoppia che la sua polarità, è quindi importante fare attenzione ad evitare di invertire le polarità negli eventuali collegamenti.
È tuttavia buona norma, nei collegamenti tra le termocoppie e gli strumenti di misura, fare meno giunzioni possibili e comunque usare appositi dispositivi con contatti compensati che impediscono anche le inversioni di polarità.
Nel caso in cui si stia utilizzando delle termocoppie con giunto di misura a massa è possibile che eventuali fem parassite vengano introdotte dalla termocoppia verso lo strumento di misura ed essendo il segnale delle termocoppie in mV è molto facile che questo venga falsato o disturbato.
È quindi opportuno passare all’utilizzo di termocoppie con giunto di misura isolato.
Come detto precedentemente la misura con le termocoppie necessita delle compensazione del giunto di riferimento; è importante quindi che questa venga effettuata correttamente dallo strumento di misura.
Tabelle di riferimento
Termocoppia tipo “B” (PtRh30% vs. PtRh6%) secondo EN 60584-1 (ITS90)
| °C | 0 | 10 | 20 | 30 | 40 | 50 | 60 | 70 | 80 | 90 | °C |
|---|---|---|---|---|---|---|---|---|---|---|---|
| FEM termoelettrica in mV | |||||||||||
| 0 | 0,000 | -0,002 | -0,003 | -0,002 | 0,000 | 0,002 | 0,006 | 0,011 | 0,017 | 0,025 | 0 |
| 100 | 0,033 | 0,043 | 0,053 | 0,065 | 0,078 | 0,092 | 0,107 | 0,123 | 0,141 | 0,159 | 100 |
| 200 | 0,178 | 0,199 | 0,220 | 0,243 | 0,267 | 0,291 | 0,317 | 0,344 | 0,372 | 0,401 | 200 |
| 300 | 0,431 | 0,462 | 0,494 | 0,527 | 0,561 | 0,596 | 0,632 | 0,669 | 0,707 | 0,746 | 300 |
| 400 | 0,787 | 0,828 | 0,870 | 0,913 | 0,957 | 1,002 | 1,048 | 1,095 | 1,143 | 1,192 | 400 |
| 500 | 1,242 | 1,293 | 1,344 | 1,397 | 1,451 | 1,505 | 1,561 | 1,617 | 1,675 | 1,733 | 500 |
| 600 | 1,792 | 1,852 | 1,913 | 1,975 | 2,037 | 2,101 | 2,165 | 2,230 | 2,296 | 2,363 | 600 |
| 700 | 2,431 | 2,499 | 2,569 | 2,639 | 2,710 | 2,782 | 2,854 | 2,928 | 3,002 | 3,078 | 700 |
| 800 | 3,154 | 3,230 | 3,308 | 3,386 | 3,466 | 3,546 | 3,626 | 3,708 | 3,790 | 3,873 | 800 |
| 900 | 3,957 | 4,041 | 4,127 | 4,213 | 4,299 | 4,387 | 4,475 | 4,564 | 4,653 | 4,743 | 900 |
| 1.000 | 4,834 | 4,926 | 5,018 | 5,111 | 5,205 | 5,299 | 5,394 | 5,489 | 5,585 | 5,682 | 1.000 |
| 1.100 | 5,780 | 5,878 | 5,976 | 6,075 | 6,175 | 6,276 | 6,377 | 6,478 | 6,580 | 6,683 | 1.100 |
| 1.200 | 6,786 | 6,890 | 6,995 | 7,100 | 7,205 | 7,311 | 7,417 | 7,524 | 7,632 | 7,740 | 1.200 |
| 1.300 | 7,848 | 7,957 | 8,066 | 8,176 | 8,286 | 8,397 | 8,508 | 8,620 | 8,731 | 8,844 | 1.300 |
| 1.400 | 8,956 | 9,069 | 9,182 | 9,296 | 9,410 | 9,524 | 9,639 | 9,735 | 9,868 | 9,984 | 1.400 |
| 1.500 | 10,099 | 10,215 | 10,331 | 10,447 | 10,563 | 10,679 | 10,796 | 10,913 | 11,029 | 11,146 | 1.500 |
| 1.600 | 11,263 | 11,380 | 11,497 | 11,614 | 11,731 | 11,848 | 11,965 | 12,082 | 12,199 | 12,316 | 1.600 |
| 1.700 | 12,433 | 12,549 | 12,666 | 12,782 | 12,898 | 13,014 | 13,130 | 13,246 | 13,361 | 13,476 | 1.700 |
| 1.800 | 13,591 | 13,706 | 13,820 | 1.800 | |||||||
| °C | 0 | 10 | 20 | 30 | 40 | 50 | 60 | 70 | 80 | 90 | °C |
Termocoppia tipo “E” (Cr-Co) secondo EN 60584-1 (ITS 90)
| °C | 0 | -10 | -20 | -30 | -40 | -50 | -60 | -70 | -80 | -90 | °C |
|---|---|---|---|---|---|---|---|---|---|---|---|
| FEM termoelettrica in mV | |||||||||||
| -200 | -8,825 | -9,063 | -9,274 | -9,455 | -9,604 | -9,718 | -9,797 | -9,835 | -200 | ||
| -100 | -5,237 | -5,681 | -6,107 | -6,516 | -6,907 | -7,279 | -7,632 | -7,963 | -8,273 | -8,561 | -100 |
| 0 | 0,000 | -0,582 | -1,152 | -1,709 | -2,255 | -2,787 | -3,306 | -3,381 | -4,302 | -4,777 | 0 |
| °C | 0 | 10 | 20 | 30 | 40 | 50 | 60 | 70 | 80 | 90 | °C |
|---|---|---|---|---|---|---|---|---|---|---|---|
| FEM termoelettrica in mV | |||||||||||
| 0 | 0,000 | 0,591 | 1,192 | 1,801 | 2,420 | 3,048 | 3,685 | 4,330 | 4,985 | 5,648 | 0 |
| 100 | 6,319 | 6,998 | 7,685 | 8,379 | 9,081 | 9,789 | 10,503 | 11,224 | 11,951 | 12,684 | 100 |
| 200 | 13,421 | 14,164 | 14,912 | 15,664 | 16,420 | 17,181 | 17,945 | 18,713 | 19,484 | 20,259 | 200 |
| 300 | 21,036 | 21,817 | 22,600 | 23,386 | 24,174 | 24,964 | 25,757 | 26,552 | 27,348 | 28,146 | 300 |
| 400 | 28,946 | 29,747 | 30,550 | 31,354 | 32,159 | 32,965 | 33,772 | 34,579 | 35,387 | 36,196 | 400 |
| 500 | 37,005 | 37,815 | 38,624 | 39,434 | 40,243 | 41,053 | 41,862 | 42,671 | 43,479 | 44,286 | 500 |
| 600 | 45,093 | 45,900 | 46,705 | 47,509 | 48,313 | 49,116 | 49,917 | 50,718 | 51,517 | 52,315 | 600 |
| 700 | 53,112 | 53,908 | 54,703 | 55,497 | 56,289 | 57,080 | 57,870 | 58,659 | 59,446 | 60,232 | 700 |
| 800 | 61,017 | 61,801 | 62,583 | 63,364 | 64,144 | 64,922 | 65,698 | 66,473 | 67,246 | 68,017 | 800 |
| 900 | 68,787 | 69,554 | 70,319 | 71,082 | 71,844 | 72,603 | 73,360 | 74,115 | 74,869 | 75,621 | 900 |
| 1.000 | 76,373 | 1.000 | |||||||||
| °C | 0 | 10 | 20 | 30 | 40 | 50 | 60 | 70 | 80 | 90 | °C |
Termocoppia tipo “J” (Fe-Co) secondo EN 60584-1 (ITS 90)
| °C | 0 | -10 | -20 | -30 | -40 | -50 | -60 | -70 | -80 | -90 | °C |
|---|---|---|---|---|---|---|---|---|---|---|---|
| FEM termoelettrica in mV | |||||||||||
| -200 | -7,890 | -8,095 | -200 | ||||||||
| -100 | -4,633 | -5,037 | -5,426 | -5,801 | -6,159 | -6,500 | -6,821 | -7,123 | -7,403 | -7,659 | -100 |
| 0 | 0,000 | -0,501 | -0,995 | -1,482 | -1,961 | -2,431 | -2,893 | -3,344 | -3,786 | -4,215 | 0 |
| °C | 0 | 10 | 20 | 30 | 40 | 50 | 60 | 70 | 80 | 90 | °C |
|---|---|---|---|---|---|---|---|---|---|---|---|
| FEM termoelettrica in mV | |||||||||||
| 0 | 0,000 | 0,507 | 1,019 | 1,537 | 2,059 | 2,585 | 3,116 | 3,650 | 4,187 | 4,726 | 0 |
| 100 | 5,269 | 5,814 | 6,360 | 6,909 | 7,459 | 8,010 | 8,562 | 9,115 | 9,669 | 10,224 | 100 |
| 200 | 10,779 | 11,334 | 11,889 | 12,445 | 13,000 | 13,555 | 14,110 | 14,665 | 15,219 | 15,773 | 200 |
| 300 | 16,327 | 16,881 | 17,434 | 17,986 | 18,538 | 19,090 | 19,642 | 20,194 | 20,745 | 21,297 | 300 |
| 400 | 21,848 | 22,400 | 22,952 | 23,504 | 24,057 | 24,610 | 25,164 | 25,720 | 26,276 | 26,834 | 400 |
| 500 | 27,393 | 27,953 | 28,516 | 29,080 | 29,647 | 30,216 | 30,788 | 31,362 | 31,939 | 32,519 | 500 |
| 600 | 33,102 | 33,689 | 34,279 | 34,873 | 35,470 | 36,071 | 36,675 | 37,284 | 37,896 | 38,512 | 600 |
| 700 | 39,132 | 39,755 | 40,382 | 41,012 | 41,645 | 42,281 | 42,919 | 43,559 | 44,203 | 44,848 | 700 |
| 800 | 45,494 | 46,141 | 46,786 | 47,431 | 48,074 | 48,715 | 49,353 | 49,989 | 50,622 | 51,251 | 800 |
| 900 | 51,877 | 52,500 | 53,119 | 53,735 | 54,347 | 54,956 | 55,561 | 56,164 | 56,763 | 57,360 | 900 |
| 1.000 | 57,953 | 58,545 | 59,134 | 59,721 | 60,307 | 60,890 | 61,473 | 62,054 | 62,634 | 63,214 | 1.000 |
| 1.100 | 63,792 | 64,370 | 64,948 | 65,525 | 66,102 | 66,679 | 67,255 | 67,831 | 68,406 | 68,980 | 1.100 |
| 1.200 | 69,553 | 1.200 | |||||||||
| °C | 0 | 10 | 20 | 30 | 40 | 50 | 60 | 70 | 80 | 90 | °C |
Termocoppia tipo “K” (Cr-Al) secondo EN 60584-1 (ITS 90)
| °C | 0 | -10 | -20 | -30 | -40 | -50 | -60 | -70 | -80 | -90 | °C |
|---|---|---|---|---|---|---|---|---|---|---|---|
| FEM termoelettrica in mV | |||||||||||
| -200 | -5,891 | -6,035 | -6,158 | -6,262 | -6,344 | -6,404 | -6,441 | -6,458 | -200 | ||
| -100 | -3,554 | -3,852 | -4,138 | -4,411 | -4,669 | -4,913 | -5,141 | -5,354 | -5,550 | -5,730 | -100 |
| 0 | 0,000 | -0,392 | -0,778 | -1,156 | -1,527 | -1,889 | -2,243 | -2,587 | -2,920 | -3,243 | 0 |
| °C | 0 | 10 | 20 | 30 | 40 | 50 | 60 | 70 | 80 | 90 | °C |
|---|---|---|---|---|---|---|---|---|---|---|---|
| FEM termoelettrica in mV | |||||||||||
| 0 | 0,000 | 0,397 | 0,798 | 1,203 | 1,612 | 2,023 | 2,436 | 2,851 | 3,267 | 3,682 | 0 |
| 100 | 4,096 | 4,509 | 4,920 | 5,328 | 5,735 | 6,138 | 6,540 | 6,941 | 7,340 | 7,739 | 100 |
| 200 | 8,138 | 8,539 | 8,940 | 9,343 | 9,747 | 10,153 | 10,561 | 10,971 | 11,382 | 11,795 | 200 |
| 300 | 12,209 | 12,624 | 13,040 | 13,457 | 13,874 | 14,293 | 14,713 | 15,133 | 15,554 | 15,975 | 300 |
| 400 | 16,397 | 16,820 | 17,243 | 17,667 | 18,091 | 18,516 | 18,941 | 19,366 | 19,792 | 20,218 | 400 |
| 500 | 20,644 | 21,071 | 21,497 | 21,924 | 22,350 | 22,776 | 23,203 | 23,629 | 24,055 | 24,480 | 500 |
| 600 | 24,905 | 25,330 | 25,755 | 26,179 | 26,602 | 27,025 | 27,447 | 27,869 | 28,289 | 28,710 | 600 |
| 700 | 29,129 | 29,548 | 29,965 | 30,382 | 30,798 | 31,213 | 31,628 | 32,041 | 32,453 | 32,865 | 700 |
| 800 | 33,275 | 33,685 | 34,093 | 34,501 | 34,908 | 35,313 | 35,718 | 36,121 | 36,524 | 36,925 | 800 |
| 900 | 37,326 | 37,725 | 38,124 | 38,522 | 38,918 | 39,314 | 39,708 | 10,101 | 40,490 | 40,885 | 900 |
| 1.000 | 41,276 | 41,665 | 42,053 | 42,440 | 42,826 | 43,211 | 43,595 | 43,978 | 44,359 | 44,740 | 1.000 |
| 1.100 | 45,119 | 45,497 | 45,873 | 46,249 | 46,623 | 46,995 | 47,367 | 47,737 | 48,105 | 48,473 | 1.100 |
| 1.200 | 48,838 | 49,202 | 49,565 | 49,926 | 50,286 | 50,644 | 51,000 | 51,355 | 51,708 | 52,060 | 1.200 |
| 1.300 | 52,410 | 52,759 | 53,106 | 53,451 | 53,795 | 54,138 | 54,479 | 54,819 | 1.300 | ||
| °C | 0 | 10 | 20 | 30 | 40 | 50 | 60 | 70 | 80 | 90 | °C |
Termocoppia tipo “N” (Nicrosil – Nisil) secondo EN 60584-1 (ITS 90)
| °C | 0 | -10 | -20 | -30 | -40 | -50 | -60 | -70 | -80 | -90 | °C |
|---|---|---|---|---|---|---|---|---|---|---|---|
| FEM termoelettrica in mV | |||||||||||
| -200 | -3,990 | -4,083 | -4,162 | -4,226 | -4,313 | -4,336 | -4,345 | -200 | |||
| -100 | -2,407 | -2,612 | -2,808 | -2,994 | -3,171 | -3,336 | -3,491 | -3,634 | -3,766 | -3,884 | -100 |
| 0 | 0,000 | -0,260 | -0,518 | -0,772 | -1,023 | -1,269 | -1,509 | -1,744 | -1,972 | -2,193 | 0 |
| °C | 0 | 10 | 20 | 30 | 40 | 50 | 60 | 70 | 80 | 90 | °C |
|---|---|---|---|---|---|---|---|---|---|---|---|
| FEM termoelettrica in mV | |||||||||||
| 0 | 0,000 | 0,261 | 0,525 | 0,793 | 1,065 | 1,340 | 1,619 | 1,902 | 2,189 | 2,480 | 0 |
| 100 | 2,774 | 3,072 | 3,374 | 3,680 | 3,989 | 4,302 | 4,618 | 4,937 | 5,259 | 5,585 | 100 |
| 200 | 5,913 | 6,245 | 6,579 | 6,916 | 7,255 | 7,597 | 7,941 | 8,288 | 8,637 | 8,988 | 200 |
| 300 | 9,341 | 9,696 | 10,054 | 10,413 | 10,774 | 11,136 | 11,501 | 11,867 | 12,234 | 12,603 | 300 |
| 400 | 12,974 | 13,346 | 13,719 | 14,094 | 14,469 | 14,846 | 15,225 | 15,604 | 15,984 | 16,366 | 400 |
| 500 | 16,748 | 17,131 | 17,515 | 17,900 | 18,286 | 18,672 | 19,059 | 19,447 | 19,835 | 20,224 | 500 |
| 600 | 20,613 | 21,003 | 21,393 | 21,784 | 22,175 | 22,566 | 22,958 | 23,350 | 23,742 | 24,134 | 600 |
| 700 | 24,527 | 24,919 | 25,312 | 25,705 | 26,098 | 26,491 | 26,883 | 27,276 | 27,669 | 28,062 | 700 |
| 800 | 28,455 | 28,847 | 29,239 | 29,632 | 30,024 | 30,416 | 30,807 | 31,199 | 31,590 | 31,981 | 800 |
| 900 | 32,371 | 32,761 | 33,151 | 33,541 | 33,930 | 34,319 | 34,707 | 35,095 | 35,482 | 35,869 | 900 |
| 1.000 | 36,256 | 36,641 | 37,027 | 37,411 | 37,795 | 38,179 | 38,562 | 38,944 | 39,326 | 39,706 | 1.000 |
| 1.100 | 40,087 | 40,466 | 40,845 | 41,223 | 41,600 | 41,976 | 42,352 | 42,727 | 43,101 | 43,474 | 1.100 |
| 1.200 | 43,846 | 44,218 | 44,588 | 44,958 | 45,326 | 45,694 | 46,606 | 46,425 | 46,789 | 47,152 | 1.200 |
| 1.300 | 47,513 | 1.300 | |||||||||
| °C | 0 | 10 | 20 | 30 | 40 | 50 | 60 | 70 | 80 | 90 | °C |
Termocoppia tipo “R” (PtRh13% – Pt) secondo EN 60584-1 (ITS 90)
| °C | 0 | -10 | -20 | -30 | -40 | -50 | -60 | -70 | -80 | -90 | °C |
|---|---|---|---|---|---|---|---|---|---|---|---|
| FEM termoelettrica in mV | |||||||||||
| 0 | 0,000 | -0,051 | -0,100 | -0,145 | -0,188 | -0,226 | 0 | ||||
| °C | 0 | 10 | 20 | 30 | 40 | 50 | 60 | 70 | 80 | 90 | °C |
|---|---|---|---|---|---|---|---|---|---|---|---|
| FEM termoelettrica in mV | |||||||||||
| 0 | 0,000 | 0,054 | 0,111 | 0,171 | 0,232 | 0,296 | 0,363 | 0,431 | 0,501 | 0,573 | 0 |
| 100 | 0,647 | 0,723 | 0,800 | 0,879 | 0,959 | 1,041 | 1,124 | 1,208 | 1,294 | 1,381 | 100 |
| 200 | 1,469 | 1,558 | 1,648 | 1,739 | 1,831 | 1,923 | 2,017 | 2,112 | 2,207 | 2,304 | 200 |
| 300 | 2,401 | 2,498 | 2,597 | 2,696 | 2,796 | 2,896 | 2,997 | 3,099 | 3,201 | 3,304 | 300 |
| 400 | 3,408 | 3,512 | 3,616 | 3,721 | 3,827 | 3,933 | 4,040 | 4,147 | 4,255 | 4,363 | 400 |
| 500 | 4,471 | 4,580 | 4,690 | 4,800 | 4,910 | 5,021 | 5,133 | 5,245 | 5,357 | 5,470 | 500 |
| 600 | 5,583 | 5,697 | 5,812 | 5,926 | 6,041 | 6,157 | 6,237 | 6,390 | 6,507 | 6,625 | 600 |
| 700 | 6,743 | 6,861 | 6,980 | 7,100 | 7,220 | 7,340 | 7,461 | 7,583 | 7,705 | 7,827 | 700 |
| 800 | 7,950 | 8,073 | 8,197 | 8,321 | 8,446 | 8,571 | 8,697 | 8,823 | 8,950 | 9,077 | 800 |
| 900 | 9,205 | 9,333 | 9,461 | 9,590 | 9,720 | 9,850 | 9,980 | 10,111 | 10,242 | 10,374 | 900 |
| 1.000 | 10,506 | 10,638 | 10,771 | 10,905 | 11,039 | 11,173 | 11,307 | 11,442 | 11,578 | 11,714 | 1.000 |
| 1.100 | 11,850 | 11,986 | 12,123 | 12,260 | 12,397 | 12,535 | 12,673 | 12,812 | 12,950 | 13,089 | 1.100 |
| 1.200 | 13,228 | 13,367 | 13,507 | 13,646 | 13,786 | 13,926 | 14,066 | 14,207 | 14,347 | 14,488 | 1.200 |
| 1.300 | 14,629 | 14,770 | 14,911 | 15,052 | 15,193 | 15,334 | 15,475 | 15,616 | 15,758 | 15,899 | 1.300 |
| 1.400 | 16,040 | 16,181 | 16,323 | 16,464 | 16,605 | 16,746 | 16,887 | 17,028 | 17,169 | 17,310 | 1.400 |
| 1.500 | 17,451 | 17,591 | 17,732 | 17,872 | 18,012 | 18,152 | 18,292 | 18,431 | 18,571 | 18,710 | 1.500 |
| 1.600 | 18,849 | 18,988 | 19,126 | 19,264 | 19,402 | 19,540 | 19,677 | 19,814 | 19,951 | 20,087 | 1.600 |
| 1.700 | 20,222 | 20,356 | 20,488 | 20,620 | 20,749 | 20,877 | 21,003 | 1.700 | |||
| °C | 0 | 10 | 20 | 30 | 40 | 50 | 60 | 70 | 80 | 90 | °C |
Termocoppia tipo “S” (PtRh10% – Pt) secondo EN 60584-1 (ITS 90)
| °C | 0 | -10 | -20 | -30 | -40 | -50 | -60 | -70 | -80 | -90 | °C |
|---|---|---|---|---|---|---|---|---|---|---|---|
| FEM termoelettrica in mV | |||||||||||
| 0 | 0,000 | -0,053 | -0,103 | -0,150 | -0,194 | -0,236 | 0 | ||||
| °C | 0 | 10 | 20 | 30 | 40 | 50 | 60 | 70 | 80 | 90 | °C |
|---|---|---|---|---|---|---|---|---|---|---|---|
| FEM termoelettrica in mV | |||||||||||
| 0 | 0,000 | 0,055 | 0,113 | 0,173 | 0,235 | 0,299 | 0,365 | 0,433 | 0,502 | 0,573 | 0 |
| 100 | 0,646 | 0,720 | 0,795 | 0,872 | 0,950 | 1,029 | 1,110 | 1,191 | 1,273 | 1,357 | 100 |
| 200 | 1,441 | 1,526 | 1,612 | 1,698 | 1,786 | 1,874 | 1,962 | 2,052 | 2,141 | 2,232 | 200 |
| 300 | 2,323 | 2,415 | 2,507 | 2,599 | 2,692 | 2,786 | 2,880 | 2,974 | 3,096 | 3,164 | 300 |
| 400 | 3,259 | 3,355 | 3,451 | 3,548 | 3,645 | 3,742 | 3,840 | 3,938 | 4,036 | 3,134 | 400 |
| 500 | 4,233 | 4,332 | 4,432 | 4,532 | 4,632 | 4,732 | 4,833 | 4,934 | 5,035 | 5,137 | 500 |
| 600 | 5,239 | 5,341 | 5,443 | 5,546 | 5,659 | 5,753 | 5,857 | 5,961 | 6,065 | 6,170 | 600 |
| 700 | 6,275 | 6,381 | 6,486 | 6,593 | 6,699 | 6,806 | 6,913 | 7,020 | 7,128 | 7,236 | 700 |
| 800 | 7,345 | 7,454 | 7,563 | 7,673 | 7,783 | 7,893 | 8,003 | 8,114 | 8,226 | 8,337 | 800 |
| 900 | 8,449 | 8,562 | 8,674 | 8,787 | 8,900 | 9,014 | 9,128 | 9,242 | 9,357 | 9,472 | 900 |
| 1.000 | 9,587 | 9,703 | 9,819 | 9,935 | 10,051 | 10,168 | 10,285 | 10,403 | 10,520 | 10,638 | 1.000 |
| 1.100 | 10,757 | 10,875 | 10,994 | 11,113 | 11,232 | 11,351 | 11,471 | 11,590 | 11,710 | 11,830 | 1.100 |
| 1.200 | 11,951 | 12,071 | 12,191 | 12,312 | 12,433 | 12,554 | 12,675 | 12,796 | 12,917 | 13,038 | 1.200 |
| 1.300 | 13,159 | 13,280 | 13,402 | 13,523 | 13,644 | 13,766 | 13,887 | 14,009 | 14,130 | 14,251 | 1.300 |
| 1.400 | 14,373 | 14,494 | 14,615 | 14,736 | 14,857 | 14,978 | 15,099 | 15,220 | 15,341 | 15,461 | 1.400 |
| 1.500 | 15,582 | 15,702 | 15,822 | 15,942 | 16,062 | 16,182 | 16,301 | 16,420 | 16,539 | 16,658 | 1.500 |
| 1.600 | 16,777 | 16,895 | 17,013 | 17,131 | 17,249 | 17,366 | 17,483 | 17,600 | 17,717 | 17,832 | 1.600 |
| 1.700 | 17,947 | 18,061 | 18,174 | 18,825 | 18,395 | 18,503 | 18,609 | 1.700 | |||
| °C | 0 | 10 | 20 | 30 | 40 | 50 | 60 | 70 | 80 | 90 | °C |
Termocoppia tipo “T” (Cu-Co) secondo EN 60584-1 (ITS 90)
| °C | 0 | -10 | -20 | -30 | -40 | -50 | -60 | -70 | -80 | -90 | °C |
|---|---|---|---|---|---|---|---|---|---|---|---|
| FEM termoelettrica in mV | |||||||||||
| -200 | -5,603 | -5,753 | -5,888 | -6,007 | -6,105 | -6,180 | -6,232 | -6,258 | -200 | ||
| -100 | -3,379 | -3,657 | -3,923 | -4,177 | -4,419 | -4,648 | -4,865 | -5,070 | -5,261 | -5,439 | -100 |
| 0 | 0,000 | -0,383 | -0,757 | -1,121 | -1,475 | -1,819 | -2,153 | -2,476 | -2,788 | -3,089 | 0 |
| °C | 0 | 10 | 20 | 30 | 40 | 50 | 60 | 70 | 80 | 90 | °C |
|---|---|---|---|---|---|---|---|---|---|---|---|
| FEM termoelettrica in mV | |||||||||||
| 0 | 0,000 | 0,391 | 0,790 | 1,196 | 1,612 | 2,036 | 2,468 | 2,909 | 3,358 | 3,814 | 0 |
| 100 | 4,279 | 4,750 | 5,228 | 5,714 | 6,206 | 6,704 | 7,209 | 7,720 | 8,237 | 8,759 | 100 |
| 200 | 9,288 | 9,822 | 10,362 | 10,907 | 11,458 | 12,013 | 12,574 | 13,139 | 13,709 | 14,283 | 200 |
| 300 | 14,862 | 15,445 | 16,032 | 16,624 | 17,219 | 17,819 | 18,422 | 19,030 | 19,641 | 20,255 | 300 |
| 400 | 20,872 | 400 | |||||||||
Tolleranze
| TYPE | JIS C 1602 | ANSI MC 96.1 | DIN 43710 | EN 60584-2 | |||||||
|---|---|---|---|---|---|---|---|---|---|---|---|
| Temp. range (°C) | Grade | Tolerance (°C) | Temp. range (°C) | Grade | Tolerance (°C) | Temp. range (°C) | Tolerance (°C) | Temp. range (°C) | Grade | Tolerance (°C) | |
| B | +200+1700 | 0.5 | ± 4°C or ± 0.5% | +800+1700 | STD | ± 0.5% | – | – | +600+1700 | 2 | ± 0.0025*|t| |
| 3 | ± 4°C or ± 0.005* |t| | ||||||||||
| R | 0+1600 | 0.25 | ± 1.5°C or ± 0.25% | 0+1450 | STD | ± 1,5°C or ± 0,25% | 0+600 | ± 3°C | 0-1600 | 1 | ± 1°C or ± [1+0.003 * (T-1100)]°C |
| SPC | ± 0,6°C or ± 0,1% | +600+1600 | ± 5°C | 2 | ± 1,5°C or ± 0.0025 * |t| | ||||||
| S | 0+1600 | 0.25 | ± 1.5°C or ± 0.25% | 0+1450 | STD | ± 1,5°C or ± 0,25% | 0-600 | ± 3°C | 0-1600 | 1 | ± 1°C or ± [1+0.003 * (T-1100)]°C |
| SPC | ± 0,6°C or ± 0,1% | 600-1600 | ± 5°C | 2 | ± 1,5°C or ± 0.0025* |t| | ||||||
| K | 0+1000 | 0.4 | ± 1.5°C or ± 0.4% | 0+1250 | STD | ± 2.2°C or ± 0.75% | 0+400 | ± 3°C | -40+1000 | 1 | ± 1,5°C or ± 0.004* |t| |
| 400+1200 | ± 0.75°C | ||||||||||
| 0+1200 | 0.75 | ± 2.5°C or ± 0.75% | SPC | ± 1.1°C or ± 0.40% | -40+1200 | 2 | ± 2,5°C or ± 0.0075* |t| | ||||
| -200-0 | 1.5 | ± 2.5°C or ± 1.5% | -200-0 | STD | ± 2.2°C or ± 2% | -200+40 | 3 | ± 2,5°C or ± 0.015* |t| | |||
| N | 0+1000 | 0.25 | ± 1.5°C or ± 0.4% | 0+1250 | STD | ± 2.2°C or ± 0.75% | – | – | -40+1000 | 1 | ± 1,5°C or ± 0.004* |t| |
| 0+1200 | 0.75 | ± 2.5°C or ± 0.75% | SPC | ± 1.1°C or ± 0.40% | -40+1200 | 2 | ± 2,5°C or ± 0.0075* |t| | ||||
| -200-0 | 1.5 | ± 2.5°C or ± 1.5% | -200-0 | STD | ± 2.2°C or ± 2% | -200+40 | 3 | ± 2,5°C or ± 0.015* |t| | |||
| E | 0+800 | 0.4 | ± 1.5°C or ± 0.4% | 0+900 | STD | ± 1,7°C or ± 0.50% | – | – | -40-800 | 1 | ± 1,5°C or ± 0.004* |t| |
| 0.75 | ± 2.5°C or ± 0.75% | SPC | ± 1°C or ± 0.40% | -40-900 | 2 | ± 2,5°C or ± 0.0075* |t| | |||||
| -200-0 | 1.5 | ± 2.5°C or ± 1.5% | -200-0 | STD | ± 1.7°C or ± 1% | -200-40 | 3 | ± 2,5°C or ± 0.015* |t| | |||
| J | 0+750 | 0.4 | ± 1.5°C or ± 0.4% | 0+750 | STD | ± 2.2°C or ± 0.75% | 0.400 | ± 3°C | -40+750 | 1 | ± 1,5°C or ± 0.004* |t| |
| 0.75 | ± 2.5°C or ± 0.75% | SPC | ± 1.1°C or ± 0.4% | 400+900 | ± 0.75° | 2 | ± 2,5°C or ± 0.0075* |t| | ||||
| T | 0+350 | 0.4 | ± 0.5°C or ± 0.4% | 0+350 | STD | ± 0.5°C or ± 0.4% | -200+400 | ± 3°C | -40+350 | 1 | ± 0,5°C or ± 0.004* |t| |
| 0.75 | ± 1°C or ± 0.75% | SPC | ± 1°C or ± 0.75% | 2 | ± 1°C or ± 0.0075* |t| | ||||||
| -200-0 | 1.5 | ± 1°C or ± 1.5% | -200-0 | STD | ± 1°C or ± 1.5% | -200+40 | 3 | ± 1°C or ± 0.015* |t| | |||